Tiedosto:29570 explo.pdf
Siirry navigaatioon
Siirry hakuun
Tämän JPG-esikatselun koko koskien PDF-tiedostoa: 423 × 599 kuvapistettä. Muu resoluutio: 169 × 240 kuvapistettä. |
Alkuperäinen tiedosto (1 239 × 1 754 kuvapistettä, tiedoston koko 529 KiB, MIME-tyyppi application/pdf, 4 sivua)
Tiedoston historia
Päiväystä napsauttamalla näet, millainen tiedosto oli kyseisellä hetkellä.
| Päiväys | Pienoiskuva | Koko | Käyttäjä | Kommentti | |
|---|---|---|---|---|---|
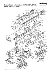
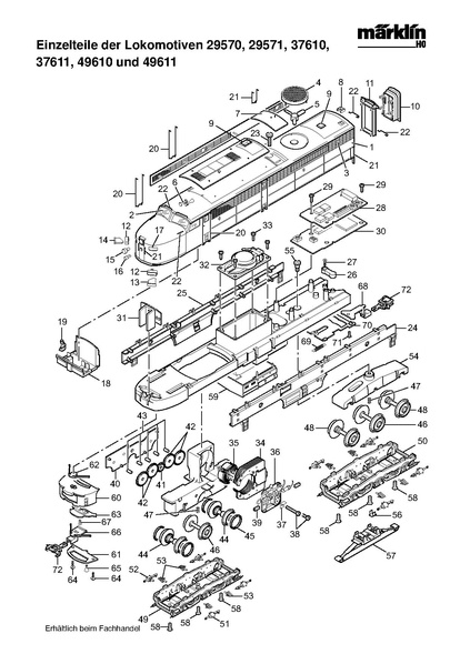
| nykyinen | 30. joulukuuta 2015 kello 12.31 | 1 239 × 1 754, 4 sivua (529 KiB) | Eero (keskustelu | muokkaukset) | Luokka:Märklin 37610 |
Et voi tallentaa uutta tiedostoa tämän tilalle.